 |
 |
|
 |
|
 |
|  |
|  |
|
 |
|
 |
|  |
|  |
|
 |
Hello everybody,
Mr. Bald Eagle asked in the Edelweiss thread how I use povray.
Just like everybody else I think.
Patience, trying something, throw the computer out of the window, all part of
life....
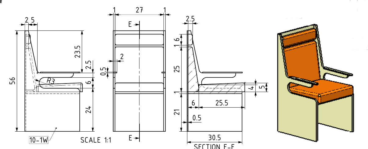
For my Edelweiss I need seats for the passengers, so let's see how to do that.
I found the model-plans at:
https://modelengineeringwebsite.com/Trans_Europ_Express.html
The seats look like the attachment.
My povray tools are good old fashioned kpovmodeler, and kate, the editor. I'm
not running that microsoft stuff, but Linux.
I can only attach one image, so on to the next message.
Post a reply to this message
Attachments:
Download 'seat.png' (80 KB)
Preview of image 'seat.png'

|
 |
|  |
|  |
|
 |
|
 |
|  |
|  |
|
 |
The modelling in kpovmodeler is straight forward. The plan shows the
measurements of the seat. To avoid big numbers (the whole train is 4464 units
long), I divide them by 10. So the seat is 5.6 high, and 3.05 deep. To get the
rounded edge from the armrest to the backside I place a box in the corner,
differenced by a cylinder, the one highlighted in the images. The armrest is
3.25 high, the radius of the cylinder is 0.3, so the y-position is 3.55. The x
is 0.01 wider then the side, for the difference to work. The z-position is found
empirical, just move it until the edge is smooth. That's why 3 decimals. 0.940
is not enough, and 0.950 is too much.
Post a reply to this message
Attachments:
Download 'kpovmodeler.png' (92 KB)
Preview of image 'kpovmodeler.png'

|
 |
|  |
|  |
|
 |
|
 |
|  |
|  |
|
 |
Here is my testrender from kpovmodeler showing the corner between the armrest
and backside of the seat.
Post a reply to this message
Attachments:
Download 'closeup.png' (35 KB)
Preview of image 'closeup.png'

|
 |
|  |
|  |
|
 |
|
 |
|  |
|  |
|
 |
And here is the complete side of the seat.
To be continued....
Cheers
Ton.
Post a reply to this message
Attachments:
Download 'side.png' (19 KB)
Preview of image 'side.png'

|
 |
|  |
|  |
|
 |
|
 |
|  |
|  |
|
 |
"Ton" <ton### [at] gmail com> wrote:
> Hello everybody,
>
> Mr. Bald Eagle asked in the Edelweiss thread how I use povray.
> Just like everybody else I think.
We all assume that. But it's always educational to compare notes. :)
> Patience, trying something, throw the computer out of the window, all part of
> life....
Sounds familiar...
> For my Edelweiss I need seats for the passengers, so let's see how to do that.
> I found the model-plans at:
> https://modelengineeringwebsite.com/Trans_Europ_Express.html
> The seats look like the attachment.
> My povray tools are good old fashioned kpovmodeler, and kate, the editor. I'm
> not running that microsoft stuff, but Linux.
Hmmm. I will have to check those out, as I have never used either.
Also running Linux. Mint and xfce desktop.
Thanks for the walkthrough - I had done a lot of similar work using MS VISIO,
EPspline, and a few other tools a few years ago. Working on another project
based on some blueprints, so maybe kpovmodeler will be just the thing! :)
Post a reply to this message
|
 |
|  |
|  |
|
 |
|
 |
|  |
|  |
|
 |
"Bald Eagle" <cre### [at] netscape net> wrote:
> "Ton" <ton### [at] gmail com> wrote:
> > Hello everybody,
> >
> > Mr. Bald Eagle asked in the Edelweiss thread how I use povray.
> > Just like everybody else I think.
>
> We all assume that. But it's always educational to compare notes. :)
>
> > Patience, trying something, throw the computer out of the window, all part of
> > life....
>
> Sounds familiar...
>
> > For my Edelweiss I need seats for the passengers, so let's see how to do that.
> > I found the model-plans at:
> > https://modelengineeringwebsite.com/Trans_Europ_Express.html
> > The seats look like the attachment.
>
> > My povray tools are good old fashioned kpovmodeler, and kate, the editor. I'm
> > not running that microsoft stuff, but Linux.
>
> Hmmm. I will have to check those out, as I have never used either.
> Also running Linux. Mint and xfce desktop.
>
>
> Thanks for the walkthrough - I had done a lot of similar work using MS VISIO,
> EPspline, and a few other tools a few years ago. Working on another project
> based on some blueprints, so maybe kpovmodeler will be just the thing! :)
I'm on opensuse tumbleweed, with the KDE-desktop.
kate the editor has povray-syntax highlighting, so it's perfect for the job.
kpovmodeler probably needs some tender care. I don't think there is somebody
working on it, which is a shame. One of the advantages of kpovmodeler is that
the copy and paste are povray syntax text files. So you type some text, and
paste that into kpovmodeler, or the copy from kpovmodeler paste in a text file.
Here is also another update on my seat:
I've rounded the top end, looks nicer. I've also translated the side to 1.36,
and added the back and bottom (literally and figuratively speaking) side.
I also added the armrest, which concludes the seat. Well halfway. I was born
lazy and the scale x * -1 for the other half.
Post a reply to this message
Attachments:
Download 'side2.png' (35 KB)
Preview of image 'side2.png'

|
 |
|  |
|  |
|
 |
|
 |
|  |
|  |
|
 |
And here is the complete seat, without the cushions.
The colors I usually do by hand, a bit easier then kpovmodeler, I think.
To be continued....
Cheers
Ton.
Post a reply to this message
Attachments:
Download 'seat.png' (58 KB)
Preview of image 'seat.png'

|
 |
|  |
|  |
|
 |
|
 |
|  |
|  |
|
 |
"Ton" <ton### [at] gmail com> wrote:
> kpovmodeler probably needs some tender care. I don't think there is somebody
> working on it, which is a shame.
Are you using this version?
http://news.povray.org/povray.programming/thread/%3Cweb.5c05ac0068e3c02c37e6c5840%40news.povray.org%3E/?mtop=425618
I have to figure out how to install it, as I suck with config/make, etc.
> Well halfway. I was born
> lazy and the scale x * -1 for the other half.
I do that all the time. :D
I need to take some diagrams and work out the shapes - can I "trace" in
kpmodeler? import/paste an image, scale it to a certain size, and get exact
x/y coordinates if I want to make a prism or spline?
Do you have a specific method of making a radius? Sometimes the radius is
specified, but the center of that circle ... isn't. Which is why dragging a
circle with the right diameter over to a WIP and then reading off the x,y
coordinates makes things go so much faster.
Post a reply to this message
|
 |
|  |
|  |
|
 |
|
 |
|  |
|  |
|
 |
On 04.10.19 00:42, Ton wrote:
> To be continued....
I hope so.
Cheers!
Gregor
Post a reply to this message
|
 |
|  |
|  |
|
 |
|
 |
|  |
|  |
|
 |
"Bald Eagle" <cre### [at] netscape net> wrote:
> "Ton" <ton### [at] gmail com> wrote:
>
>
> > kpovmodeler probably needs some tender care. I don't think there is somebody
> > working on it, which is a shame.
>
> Are you using this version?
>
http://news.povray.org/povray.programming/thread/%3Cweb.5c05ac0068e3c02c37e6c5840%40news.povray.org%3E/?mtop=425618
>
> I have to figure out how to install it, as I suck with config/make, etc.
I don't know how Mint Linux does its software, but make sure you the development
packages for QT and KDE, which include the header files in order to compile
everything. Eticre describes in the link how to do that, and I tried that today
with a fresh git clone, and that works.
>
> > Well halfway. I was born
> > lazy and the scale x * -1 for the other half.
>
> I do that all the time. :D
>
> I need to take some diagrams and work out the shapes - can I "trace" in
> kpmodeler? import/paste an image, scale it to a certain size, and get exact
> x/y coordinates if I want to make a prism or spline?
No, there is no trace, but kpovmodeler allows "raw povray" text, so you could
put a trace command. I've never tried that though.....
>
> Do you have a specific method of making a radius? Sometimes the radius is
> specified, but the center of that circle ... isn't. Which is why dragging a
> circle with the right diameter over to a WIP and then reading off the x,y
> coordinates makes things go so much faster.
To use a fancy word, empirical (trial and error).
Cheers
Ton.
Post a reply to this message
|
 |
|  |
|  |
|
 |
|
 |
|  |
|
 |